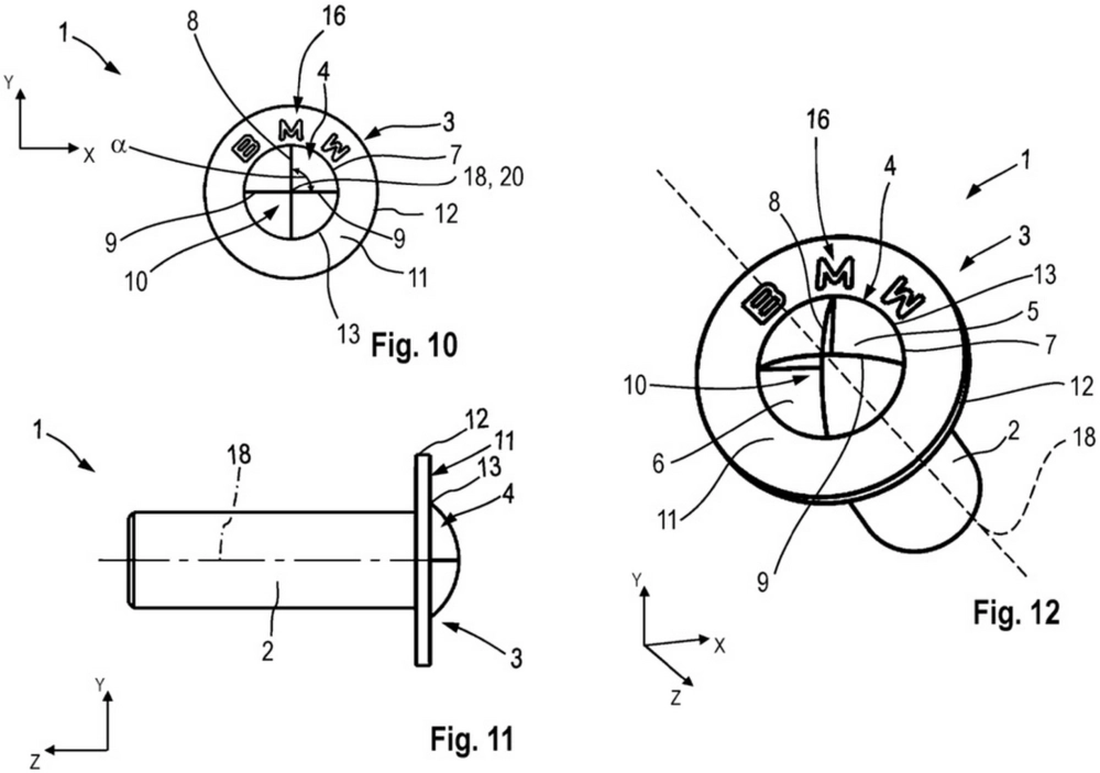
BMW запатентовала новый тип винтов, выполненных в виде логотипа компании с двумя углублениями. При этом оставшиеся квадранты плоские.
Для пользователей автомобилей BMW это может означать усложнение самостоятельного ремонта — вероятно, в случае реализации такие отвёртки будут иметься только у официальных дилеров.
Кроме того, в случае попытки открутить такой винт без нужного инструмента можно нанести ему повреждения.
Компании часто патентуют разные технологии и варианты дизайна, в том числе ради защиты от патентных троллей, но зачастую эти патенты не воплощаются в реальной жизни.
Источник:
Patentscope

